iphone-ticker.de — Alles zum iPhone. Seit 2007.

43 939 Artikel
165 Artikel
   

Li-Fi-Verweise in iOS 9: Apple-Experimente mit optischer Datenübertragung?

Ihr erinnert euch an die Infrarot-Diode, die bis vor kurzem noch in fast allen gängigen TV-Fernbedienungen verbaut wurde? Das Kürzel „Li-Fi“ beschreibt ein ähnliches Verfahren zur optischer Datenübertragung, ist aber deutlich jünger, hat eine wesentlich kräftigere Bandbreite und wesentlich mehr Einsatzzwecke als die Infrarot-Signale, mit denen eurer Fernseher tagtäglich zu kämpfen hat. Die deutsche Wikipedia beschreibt das Light ...

Montag, 18. Jan. 2016, 19:08 Uhr 21 Kommentare 21
   

Doppel-Kamera im iPhone 7? Apple Patent skizziert die Vorzüge

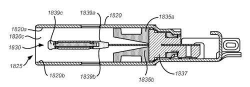
Die ersten Spekulationen über die Integration eines zweifachen Kamera-Moduls in das iPhone liegen ziemlich genau ein Jahr zurück . Am 15. Januar informierten wir euch über taiwanesische Medienberichte, die eine deutlich bessere Kamera im iPhone 6s herbeiredeten und nicht etwa „Live Photos“, sondern den Einbau von zwei Linsen vorhersagten. Darüber hinaus wurde ein optischer Zoom und eine deutlich ...

Donnerstag, 07. Jan. 2016, 17:51 Uhr 23 Kommentare 23
Herzfrequenz-Sensoren

Sensor-Klage fordert Verkaufsstopp für Apple Watch

2013 saßen sich die Sensor-Spezialisten von Valencell und Apple noch in Gesprächen über etwaige Kooperationsmöglichkeiten gegenüber, jetzt hat der amerikanische Herzfrequenz-Spezialist vor dem US District Court North Carolina gegen den Hersteller der Apple Watch Klage eingereicht, die es in sich hat. In der Klageschrift , die dem US-Portal Appleinsider vorliegt und in ähnlicher Ausführung auch an den Wearable-Hersteller FitBit zugestellt ...

Dienstag, 05. Jan. 2016, 14:59 Uhr 22 Kommentare 22
   

Patent-Abkommen: Apple und Ericsson begraben das Kriegsbeil

Sieben Monate nachdem der skandinavische Mobilfunk-Zulieferer Ericsson in mehreren Europäischen Ländern Patentklagen gegen Apple eingereicht hat und unter anderem auch in Deutschland , in England und in den Niederlanden gegen den iPhone-Hersteller aus Cupertino vor Gericht zog, haben sich die beiden Unternehmen nun auf ein Patent-Abkommen verständigt und ihren Streit beigelegt. Laut Ericsson verletzte Apple mit dem Verkauf der iPhone-Familie ...

Montag, 21. Dez. 2015, 10:57 Uhr 1 Kommentar 1
iPhone 7 Parachute System

So wahrscheinlich nicht: Apples iPhone-Airbag-Patent im Video

Zerbrochene iPhone-Displays zählen zu den mit Abstand häufigsten Geräte-Defekten des Smartphones aus Cupertino. Eine Tatsache, der sich Apple nicht nur bewusst ist, sondern auch aktiv an Lösungen arbeitet, die die Anzahl der ausgegebenen Tauschgeräte langfristige minimieren sollen. Zuletzt etwa widmete sich Apples Ende Oktober ausgegebene Patentschrift mit dem Titel „Active Screen Protection for Electronic Device“ dem Alltagsproblem Display-Brauch. In ...

Montag, 07. Dez. 2015, 14:04 Uhr 20 Kommentare 20
   

iPhone 7: Mit Panikmodus und integriertem Homebutton?

Apples heute veröffentlichte Patentschrift mit der Kennziffer #2150319294 sorgt aktuell für Spekulationen über die womöglich bevorstehende Integration eines sogenannten Panikmodus, der sich mit einem einfachen Fingerabdruck aktivieren lassen könnte. In dem bereits im Mai 2014 eingereichten Patentantrag beschreibt Cupertino den Panikmodus als Zusatz zur bereits verfügbaren Geräte-Entsperrung per Touch ID. Nutzer könnten unterschiedlichen Fingern verschiedene Funktionen zuweise und ...

Donnerstag, 05. Nov. 2015, 18:26 Uhr 49 Kommentare 49
   

iPhone als Rauchmelder: Apple patentiert „smoke detection“-Modul

Lang ist es her, dass Google und Apple Hand in Hand gearbeitet haben. Während Googles Eric Schmidt im Jahr 2006 noch einen Platz im Apple-Vorstand hatte, treten die beiden Technik-Giganten inzwischen nicht mehr nur mit eigenen Smartphone-Betriebssystemen, sondern auch mit Cloud-Lösungen, Weltkarten, Musik-Diensten, Foto-Speichern, Sprachassistenten und wohlmöglich sogar eigenen Fahrzeugen gegeneinander an. Zukünftig könnte Apple sogar mit Googles Rauchmeldern konkurrieren ...

Dienstag, 01. Sep. 2015, 15:08 Uhr 32 Kommentare 32
   

Schlappe für Apple: BGH erklärt Entsperr-Patent für nichtig

In seinem Urteil vom 25. August 2015 (Kennziffer: X ZR 110/13) hat der Bundesgerichtshof das von Apple gehaltene Patent zur Entsperrung eines Touchscreens für nichtig erklärt. Der Bundesgerichtshof folgt mit seiner Entscheidung dem Antrag der Klägerin Motorola Mobility Germany GmbH, die das Streitpatent mit einer Patentnichtigkeitsklage angegriffen hatte und bestätigt das initiale Urteil von vom 4. April ...

Dienstag, 25. Aug. 2015, 17:14 Uhr 24 Kommentare 24
   

Funk-Transparent: Apple-Patent beschreibt neuartigen Metallwerkstoff

Eine neue Patentschrift Apples lässt Spekulationen um grundsätzliche Veränderungen im Fertigungsprozess des iPhones laut werden. So könnte die Patentschrift mit der Kennziffer #20150167193 dafür sorgen, dass zukünftige iPhone-Generationen weder auf eine Glas-Rückseite noch auf gesonderte Antennen-Aussparungen angewiesen sind, um mit WLAN-, Bluetooth- und LTE-Netzen barrierefrei funken zu können. Kurz: Apple hat sich einen Metall-ähnlichen Werkstoff schützen lassen, der den ...

Montag, 22. Juni 2015, 9:20 Uhr 20 Kommentare 20
   

Apple Watch Armband-Adapter: „Watchapter“ trotzt neuen Apple-Patenten

Unter den 40 frisch veröffentlichten Apple-Patenten, die das US Patent- und Markenrechtsamt USPTO heute zum Download freigegeben hat, findet sich unter anderem auch eine Ideen-Schrift, in der Apple den Klick-Mechanismus beschreib, mit dem die Apple Watch ihre Armbänder aufnimmt. Das Design-Patent mit der Kennziffer D727.787 wurde im dritten Quartal 2014, kurz vor der Vorstellung der Apple Watch beantragt und ...

Dienstag, 28. Apr. 2015, 15:59 Uhr 33 Kommentare 33
Kurz notiert

Pay Aufkleber, Tracking Patente, Carplay-Firmware und iCracked

Zum Signalisieren der Apple Pay-Zahlungsannahme können sich Einzelhändler, die über Apple Pay-kompatible Terminals verfügen, jetzt ein Marketing-Paket aus Cupertino ordern. Das kostenlose Set – die maximale Abgabemenge ist auf fünf Stück begrenzt – beinhaltet zwei Fenster- und zwei Kassen-Aufkleber sowie ein Werkzeug zur blasenfreien Befestigung. Aktuell bietet Apple den kostenlosen Versand ausschließlich in die USA an. Die ...

Dienstag, 24. März 2015, 15:50 Uhr 10 Kommentare 10
   

Apples Patente: Wasserdichtes iPhone – Funkloch-freie Routenführung

Die zehnte Kalenderwoche des noch jungen Jahres liefert uns zwei neuveröffentlichte, allerdings schon über 15 Monate alte Apple-Patente, die zwar nicht unmittelbar umgesetzt werden dürften, mit Blick auf die anstehenden Produkt-Neuerscheinungen aber zumindest eine Erwähnung finden sollten. Wasserdichtes iPhone: Nach der Ideen-Skizze zum Einsatz einer wasserfesten Nano-Beschichtung kann Apple mit der Patentschrift 14/230639 jetzt eine Erfindung für sich ...

Donnerstag, 05. März 2015, 16:40 Uhr 24 Kommentare 24
   

Apple Patent verlagert Fingerabdruck-Sensor unters Display

Befindet sich der Fingerabdruck-Scanner zukünftiger iPhone-Generationen unterhalb des Touchscreen-Displays? Auch wenn wir uns nur schwer vorstellen können, dass Apple langfristig auf seinen, inzwischen zum iPhone-Markenzeichen avancierten Home-Button verzichten wird – Cupertino experimentiert mit einer neue Anordnung der iPhone-Bedienelemente. Dies geht aus einer Ende der vergangenen Woche Patentschrift hervor, in der das Touch ID-Element unterhalb des Geräte-Displays positioniert ...

Montag, 09. Feb. 2015, 10:24 Uhr 55 Kommentare 55
   

„Apple startet Angriff auf GoPro“. Aha.

Die Nachrichtenagentur Reuters hat die Veröffentlichung eines aktuellen Apple-Patentes zum Anlass für eine Kurzmeldung genommen, die derzeit weite Kreise auch innerhalb der deutschen Medienlandschaft zieht. So titelt etwa die FAZ mit einem aufgeregten „Apple startet Angriff auf GoPro“ und schreibt : Mit einem Patent für ein neues Kamerasystem startet der Multimediakonzern Apple womöglich einen Angriff auf den Actionkamera-Hersteller GoPro. ...

Mittwoch, 14. Jan. 2015, 10:14 Uhr 40 Kommentare 40
   

Patentantrag enthüllt Details zu Apples beidseitigem USB-Stecker

Ein neu veröffentlichter Patentantrag liefert detaillierte Informationen zu dem offenbar von Apple geplanten beidseitig verwendbaren USB-zu-Lightning-Kabel. Wer meint, Apple habe da einfach eine Plasktiklasche mittig platziert und beidseitig mit Kontakten ausgestattet, liegt falsch. Abgesehen von der erforderlichen Elektronik steckt in der Konstruktion der auf den ersten Blick simplen Steckverbindung dann doch etwas mehr Aufwand und Ingenieurskunst. Wohl nicht nur um ...

Donnerstag, 21. Aug. 2014, 18:29 Uhr 56 Kommentare 56
   

Ganz aus Glas: Apple-Patent beschreibt neue Produktionsverfahren

Das US Marken- und Patentrechtsamt hat die Prüfung der 2013 von Apple eingereichten Ideen-Schrift „Fused Glass Device Housings“ abgeschlossen und Cupertino jetzt das Patent mit der Kennziffer #8.773.848 zugesprochen, in dem die Fertigung kompletter Hardware-Komponenten aus Glas beschrieben wird. Zwar lässt die Bewilligung der Patentschrift noch keine Schlussfolgerungen zum Einsatz der skizzierten Techniken zu, unterstreicht aber, dass Apple ...

Mittwoch, 09. Juli 2014, 10:34 Uhr 30 Kommentare 30
   

Bebilderte SMS: Apple Patent beschreibt „Versende-Schutz“

Schon man eine für die Freundin bestimmte Kurznachricht an den Chef gesendet? Oder noch besser: Die betrunken geknipsten Fotos noch von der laufenden Party aus mit der falschen Gruppe geteilt? Probleme, die auch Apple zu beschäftigen scheinen. So skizziert eine jetzt veröffentlichte Patentschrift Cupertinos , eine auf Kontakt-Bilder aufbauende Kurznachrichten-Anwendung, die euch nicht mehr nur mit einem kleingedruckten Namen ...

Donnerstag, 15. Mai 2014, 14:26 Uhr 21 Kommentare 21
   

Milliardenklage gegen Apple: Mannheim weist Ansprüche ab

Am 12. Februar, kurz nach dem Auftakt der Milliardenklage gegen Apple, war der Ausgang des Prozesses vor dem Landgericht Mannheim noch völlig unklar. Damals haben wir uns ernsthaft gefragt : Erstreitet Münchner Firma 1,5 Milliarden von Apple? Seit heute steht fest: Die Patentverwerter erhalten keinen Pfennig. Das von der Münchner Verwertungsgesellschaft IPCom angestrengte Verfahren gegen Cupertino führte eine Patentverletzung an, derer ...

Freitag, 28. Feb. 2014, 13:19 Uhr 16 Kommentare 16
   

Kurz notiert: 10 Links zum Lesen, Kopfschütteln und Merken

Es ist eines der großen iPhone 6-Gerüchte. Die anstehende Geräte-Generation könnte mit einer Display-Front aus Saphir-Glas aufwarten. Dass Apple am Bau von Fabriken zur Herstellung des Werkstoffs beteiligt ist, ist hinlänglich bekannt . Nun skizziert ein Apple-Patent vom Juli 2012 den Einsatz der Saphir-Glas Module. Die Puzzle-Teile fügen sich zusammen. Trotz seines nicht ganz so ansprechenden Looks gehört der AcePlayer zu einer der ...

Donnerstag, 23. Jan. 2014, 18:07 Uhr 15 Kommentare 15
   

Samsung vs. Apple: Erneute Schlappe vor Gericht

In dem nach wie vor anhängigen Patent-Verfahren zwischen Samsung und Apple – ifun.de berichtete – haben die Koreaner heute eine erneute , wenn auch nur vorläufige Niederlage eingefahren. So erklärte die vorsitzende Richterin des Kalifornischen Northern District Courts, Lucy Koh, heute nicht nur eine Patentschrift Samsungs für ungültig, sondern sieht auch das von Apple gehaltene Autocomplete-Patent (U.S. Patent No. 8,074,172 ), das ...

Mittwoch, 22. Jan. 2014, 11:36 Uhr 36 Kommentare 36
ifun.de ist das dienstälteste europäische Onlineportal rund um Apples Lifestyle-Produkte.
Wir informieren täglich über Aktuelles und Interessantes aus der Welt rund um iPhone, iPad, Mac und sonstige Dinge, die uns gefallen.
Insgesamt haben wir 43939 Artikel in den vergangenen 6832 Tagen veröffentlicht. Und es werden täglich mehr.
ifun.de — Love it or leave it   ·   Copyright © 2026 aketo GmbH   ·   Impressum   ·      ·   Datenschutz   ·   Safari-Push aketo GmbH Powered by SysEleven